五月天天在线I欧美日韩xxI五月亚洲I天天透天天插I国产涩涩网站I国产免费小视频

歡迎光臨~上海仰光電子科技有限公司
機器人維修服務熱線 全國服務熱線:

13371980026

您的位置:首 頁 > 機器人維修與保養 > 庫卡 > KUKA機器人 KR 12 R1810技術數據

庫卡

  • KUKA機器人 KR 12 R1810技術數據

KUKA機器人 KR 12 R1810技術數據

    品牌:庫卡

    上架時間:2021-11-9 發布者:上海仰光

    產品描述:法蘭上的負載: 通過安裝在機器人上的負載的運動(例如工具),作用力和扭矩就會作用在連接法蘭上。此作用力和扭矩取決于移動軌跡及負載的質量、重心和慣性矩。 所給出的數值基于處于額定間距的額定負載,不包含安全系數。務必將負載數據輸入到機器人控制系統中。機器人控制系統在軌跡規劃時將負載考慮在內。 負載降低并不會強制產生更小的作用力和扭矩。 數值為通過試驗和模擬得出的參考值,基于機器人系列中負載能力最高的機器。實際的作用力和扭矩可能會因連接法蘭受到的內外部影響或作用點不同而不同。因此建議在必要時于機器人使用現場的實際條件下測定作用力和扭矩。 運行值可以持續地在正常移動軌跡下得出。建議在設計工具時注意疲勞強度。 在機器人出現緊急狀況時會出現緊急停止數值。由于這種情況在機器人使用壽命中只會極少地出現,因此在大多數情況下靜態強度證明即可。

  • 立即咨詢

KUKA機器人 KR 12 R1810技術數據詳情如下:

基本數據:

環境條件:

連接電纜:

   

軸數據:

各個軸的運動方向和位置見下圖。

 機器人軸的旋轉方向。

零點標定位置:

工作范圍:

下面的插圖為本產品系列的這些型號顯示了工作區域的大小和形狀。 工作范圍的參考點是軸 4 和 5 的交點。 

工作區域,側視圖,KR 12 R1810 

 工作區域,俯視圖,KR 12 R1810 

傾斜位置:

機器人可選擇介于 0° 位置(地面)和 180° 位置(天花板)之間的任何 安裝位置。下圖顯示了軸 1 的運動范圍在不同的機器人傾斜位置中可能受到 的限制。

 如果不在地面位置運行機器人,則須將機器人的傾斜位置角度正確記錄在控制 系統中。可在 WorkVisual 中實現角度配置。 在不改變機器人主作業方向時的傾斜角度:

 地面:A:0°、B:0°、C:0° 

墻壁:A:0°、B:90°、C:0° 

天花板:A:0°、B:0°、C:180° 

負載能力:

負載重心:

所有負載的負載重心與距軸 6 法蘭面的距離有關。

負載能力圖表:

提示:

該負載曲線對應于極端負載能力。每次都必須檢查兩個值(負載能力和質量 慣性矩)。超出時會影響機器人的使用壽命,使電機和齒輪箱過載,因此必 須詢問 KUKA Deutschland GmbH。 

此處得出的數值對機器人的使用計劃非常必要。按照 KUKA 系統軟件的操 作及編程指南,機器人投入運行時需要額外的輸入數據。 必須用 KUKA.Load 檢查慣性。務必將負載數據輸入到機器人控制系統中! 

KR 12 R1810 負載能力圖表:

KR 12 R1810 設計用于額定負載能力 12 kg,以便最佳利用機器人的性能和 動態性能。通過減小負載間距,也可以使用高達最大負載能力的更高負載。特 殊的負載情況必須用 KUKA.Load 進行檢查。

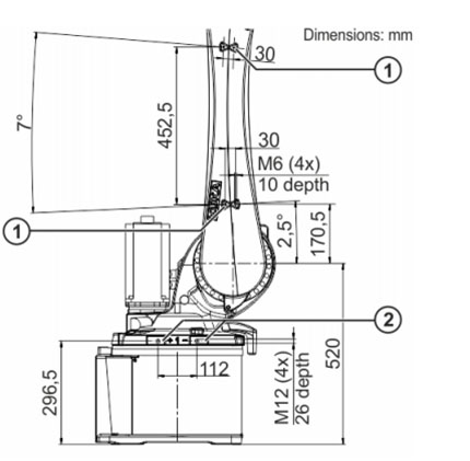
連接法蘭 :

 

連接法蘭圖示對應于軸 4 和 6 在零位時的連接法蘭位 置。符號 Xm 表示配合件(鉆套)在零位時的位置。

法蘭上的負載:

通過安裝在機器人上的負載的運動(例如工具),作用力和扭矩就會作用在連接法蘭上。此作用力和扭矩取決于移動軌跡及負載的質量、重心和慣性矩。 所給出的數值基于處于額定間距的額定負載,不包含安全系數。務必將負載數據輸入到機器人控制系統中。機器人控制系統在軌跡規劃時將負載考慮在內。 負載降低并不會強制產生更小的作用力和扭矩。 數值為通過試驗和模擬得出的參考值,基于機器人系列中負載能力最高的機器。實際的作用力和扭矩可能會因連接法蘭受到的內外部影響或作用點不同而不同。因此建議在必要時于機器人使用現場的實際條件下測定作用力和扭矩。 運行值可以持續地在正常移動軌跡下得出。建議在設計工具時注意疲勞強度。 在機器人出現緊急狀況時會出現緊急停止數值。由于這種情況在機器人使用壽命中只會極少地出現,因此在大多數情況下靜態強度證明即可。

附加負載:

在機器人的小臂、大臂和轉盤上可以承受附加負載。施加附加負載時應注意允許的最大總負載。加裝方案的尺寸和位置見下圖。 

 附加負載的固定,小臂 

1 軸 4 的旋轉平面 。

2 小臂的支承面。

 附加負載的固定,大臂/轉盤 

1 大臂的支承面 。

2 轉盤的支承面,兩側。

地基負載:

給出的力和力矩已經包括機器人的負載和慣性力(重量)。 

垂直力 F(v)、水平力 F(h)、傾斜力矩 M(k)、軸 1 的轉矩 M(r)